Вся продукция Dendor
Чугунная шиберная задвижка K21GVS применяются в тех случаях, когда допускается одностороннее направление потока рабочей среды и не требуется высокая герметичность запорного органа. Она предназначена для установки в качестве запорных устройств на трубопроводах, транспортирующих канализационные стоки, шламы, пульпы и другие, загрязнённые механическими примесями среды.
Цены на задвижки K21GVS
| Ду, мм |
Цена за шт |
| 400 |
по запросу |
| 500 |
по запросу |
Технические характеристики
- Присоединение: фланцевое
- Давление, МПа: PN 10
- Рабочая среда: канализационные очистные сооружения, бумажная промышленность, горнодобывающая промышленность, химическая и пищевая промышленность, а так же вязкие жидкости, сыпучие продукты и т.п
- Температура рабочей среды: от -20°C до +120°C
- Направление потока – однонаправленное
- Материал корпусных деталей: ковкий чугун с термообработанным эпоксидным покрытием
- Конструктивное исполнение - с маховиком (штурвалом); с редуктором
- Производители: Dendor Valve Industrial (Польша)
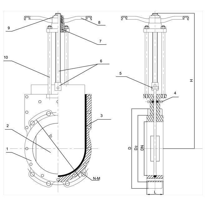
Габаритные и присоединительные размеры
| DN |
L |
?D |
?D1 |
?D2 |
n-?d |
H |
| DN 400 |
100 |
565 |
515 |
482 |
16-22 |
1004 |
| DN 500 |
132 |
670 |
620 |
585 |
20-22 |
1210 |
