Краны шаровые LD Стриж межфланцевые

0 ОТЗЫВ-Ы / ДОБАВИТЬ ОТЗЫВ

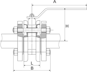
Установка межфланцевая, присоединительные размеры по ГОСТ 12815.

  • Корпус: сталь 20 (оцинкованная)
  • Шар: нержавеющая сталь (08Х18Н10)
  • Шток: нержавеющая сталь (20Х13)
  • Уплотнение штока: фторсилоксановый эластомер
  • Уплотнение штока/подшипник скольжения: фторопласт Ф4 (PTFE, Teflon)
  • Уплотнение шара: фторопласт Ф4 (PTFE, Teflon)
  • Прокладка: Безасбестный Паронит
DN PN Код A H B n отв L Вес, кг
050 16 LD Стриж 050.016.02.Zn 215 132 150 4 66 3,0
065 16 LD Стриж 065.016.02.Zn 215 138 180 4 71 3,8
080 16 LD Стриж 080.016.02.Zn 334 142 200 4 89 5,0
100 16 LD Стриж 100.016.02.Zn 334 151 220 8 109 7,0
Краны шаровые LD Стриж межфланцевые схема

Материалы для монтажа

  • Фланец (ГОСТ 12820, 12821): 2 шт
  • Прокладка (Паронит или иной материал): 2 шт
  • Шпилька М16: 4/8 шт
  • Гайка М16: 8/16 шт
Краны шаровые LD Стриж межфланцевые схема
Отзыв
Оставить отзыв
Имя
E-mail
Текст комментария
Оценка для товара
Copyright MAXXmarketing Webdesigner GmbH