Краны шаровые Vexve 117 сварка/сварка для газа

0 ОТЗЫВ-Ы / ДОБАВИТЬ ОТЗЫВ

Цена по запросу.

Стальные приварные шаровые краны Vexve серии 117 с удлиненным штоком выпускаются Ду от 25 до 300 мм и расчитаны на давление Ру 25 или 40. Шаровые краны Vexve серии 117 предназначены для перекрытия потока рабочей среды в газопроводах природного и сжиженного газа. Удлиненненный шток шарового крана необходим для вывода элемента управления крана на заданную высоту или на поверхность земли. Шаровые краны Vexve с удлиненным штоком серии 117, выполненные в литой тепловой изоляции, могут использоваться в трубопроводах тепловых сетей и газопроводах с бесканальной прокладкой труб в пенополиуретановой изоляции.
Длина и высота шаровых кранов серии 117 могжет быть изготовлена по требованию заказчика.

Технические характеристики

  • Корпус: углеродистая сталь, EN 10217-2 P235GH (1.0345).
  • Шар: нержавеющая сталь, EN X5CrNi18-10 (1.4301).
  • Шток: нержавеющая сталь, EN X8CrNiS18-9 (1.4305).
  • Головка штока: H1=нержавеющая сталь EN X5CrNi 18-10 (1.4 301).
  • Уплотнение шара: упрочненный PTFE.
  • Уплотнение штока: FPM.
  • Температура: от -30°C до 200°C.
Vexve 117 кран с удлиненным штоком

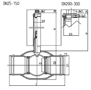
Размеры

DN PN Код D D1 D2 D3 H L 6K1 6K2 S Кг
25 40 117025 20 33,7 48,3 33,7 350 230 19 - 2,6 2,5
32 40 117032 25 42,4 60,3 33,7 350 260 19 - 2,6 2,9
40 40 117040 32 48,3 76,1 33,7 350 260 19 - 2,6 3,4
50 40 117050 40 60,3 88,9 33,7 350 300 19 - 2,9 4,8
65 25 117065 50 76,1 114,3 33,7 350 300 19 - 2,9 6,4
80 25 117080 65 88,9 139,7 33,7 350 300 19 - 3,2 7,7
100 25 117100 80 114,3 168,3 42,4 350 325 19 - 3,6 10,5
125 25 117125 100 139,7 177,8 42,4 350 325 27 - 4,0 15,3
150 25 117150 125 168,3 219,1 42,4 350 350 27 - 4,5 20,7
200 25 117200 150 219,1 273,0 76,1 350 400 50 90 4,5 46,3
250 25 117250 200 273,0 355,6 88,9 350 530 50 90 5,0 84
300 25 117300 250 323,9 457,0 88,9 350 550 50 90 5,6 120
Отзыв
Оставить отзыв
Имя
E-mail
Текст комментария
Оценка для товара
Copyright MAXXmarketing Webdesigner GmbH