Фильтры грязеотделители

0 ОТЗЫВ-Ы / ДОБАВИТЬ ОТЗЫВ

Фильтры грязеотделители предназначены для очистки воды от взвешенных частиц грязи, песка и других примесей методом осаждения. Применяется на вводах от теплосетей.

Цены на фильтры грязеотделители

Обозначение dy, мм D, мм D1, мм D2, мм L, мм Н, мм Масса, кг Цена с НДС
ФГ-50 50 160 125 159 363 425 16,45 4 372 руб.
ФГ-80 80 195 160 159 363 475 20,4 6 267 руб.
ФГ-100 100 215 180 219 423 525 33,45 9 213 руб.

Рабочая среда

Вода и другие жидкости неагрессивные к материалам проточной части. Условное давление РN=1,6 МПа (16кгс/см2). Температура фильтруемой среды до 150°С.

Гарантийный срок эксплуатации 24 месяца.

Установочное положение

Направление потока – по стрелке, улавливающей камерой вниз (фильтрующая сетка устанавливается на выходе потока).

Конструкция

Материал корпуса – Сталь по ГОСТ 19903.
Материал фильтрующего элемента – сетка из нержавеющей стали с ячейкой 1,4х1,4 мм. (По заказу потребителя фильтр-грязеотделитель может быть изготовлен с необходимы параметрами фильтрующей сетки по ГОСТ 3826).
Присоединение к трубопроводу – фланцевое с присоединительными размерами по ГОСТ 12815-80.

Технические характеристики

Обозначение dy, мм D, мм D1, мм D2, мм L, мм H, мм Масса, кг
ФГ-50 50 160 125 159 363 425 12,7
ФГ-80 80 195 160 159 363 425 16,7
ФГ-100 100 215 180 219 363 525 23,5
ФГф-125 125 245 210 325 520 584 81,9
ФГф-150 150 280 240 325 650 662 87,6
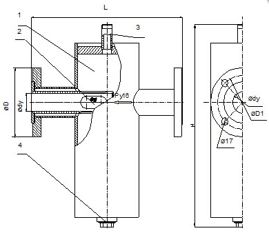
Фильтры грязеотделители - схема
  1. Корпус сварной
  2. Элемент фильтрующмй съемный
  3. Штуцер для подключения контрольных приборов
  4. Пробка для слива
Отзыв
Оставить отзыв
Имя
E-mail
Текст комментария
Оценка для товара
Copyright MAXXmarketing Webdesigner GmbH