Муфта соединительная фиксирующая RC-R13 Dendor

0 ОТЗЫВ-Ы / ДОБАВИТЬ ОТЗЫВ

Фиксирующие
DN: 50-630
PN: 10, 16
Tраб: от -25°C до +70°C
Tмакс: +80°C

Вся продукция Dendor

Соединительная муфта фиксирующая применяется для соединения ПЭ труб между собой.

Цены на муфты соединительные фиксирующих RC-R13:

Наименование Цена
Ду 50 PE63 3 673 руб.
Ду 65 PE75 3 840 руб.
Ду 80 PE90 4 869 руб.
Ду 100 PE110 5 766 руб.
Ду 150 PE160 9 452 руб.
Ду 200 PE200 11 473 руб.
Ду 200 PE225 15 094 руб.
Ду 250 PE250 19 817 руб.
Ду 300 PE315 29 718 руб.
Ду 400 PE400 40 754 руб.
Ду 500 PE500 55 817 руб.
Ду 500 PE560 57 111 руб.
Ду 600 PE630 72 045 руб.

Основные материалы конструкции

  • Корпус: чугун GGG40 с термообработанным эпоксидным покрытием
  • Уплотнение: EPDM с латунным фиксатором

Рабочая среда

Вода в системах холодного и горячего водоснабжения, отопления, морская вода, питьевая вода, воздух, гликольные смеси и т.п.

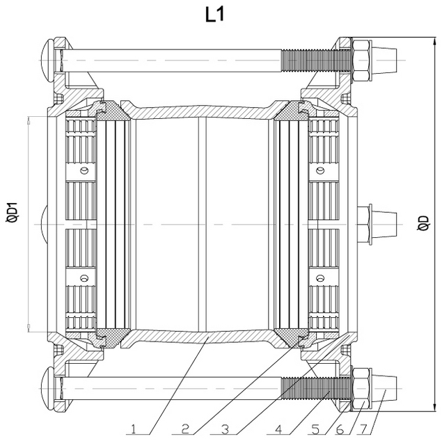
Размеры муфт соединительных фиксирующих

DN Наружный
диаметр
трубы, мм
?D ?D1 L1 n
DN 50 63 140 55 M12-90 2
DN 65 75 150 80 M12-90 2
DN 80 90 180 95 M12-90 4
DN 100 110 200 115 M12-90 4
DN 150 160 270 165 M12-90 4
DN 200 200 325 205 M12-110 4
DN 200 225 325 205 M12-110 4
DN 250 250 380 255 M12-110 6
DN 300 315 420 320 M12-170 6
DN 400 400 520 408 M16-170 8
DN 500 500 580 458 M16-170 10
DN 500 560 690 568 M16-170 10
DN 600 630 760 638 M16-170 10

Конструкция

Конструкция муфты соединительной фиксирующей RC-R13
  1. корпус ковкий чугун (GGG40)
  2. кольцо+уплотнение латунь+EPDM
  3. кольцо ковкий чугун (GGG50)
  4. болт оцинкованная сталь
  5. шайба оцинкованная сталь
  6. гайка оцинкованная сталь
  7. колпак пластик
Отзыв
Оставить отзыв
Имя
E-mail
Текст комментария
Оценка для товара
Copyright MAXXmarketing Webdesigner GmbH