Муфта AVK сборная 52/258

0 ОТЗЫВ-Ы / ДОБАВИТЬ ОТЗЫВ

Сборные
DN: 350 - 1200 мм
PN: 16
Tраб: до 70°C

Муфта AVK сборная PN 16 52/258 применяется для канализации и трубопроводов, транспортирующих воду и нейтральные жидкости. Рабочая температура не должна превышать 70. Максимальное давление - 16 бар. Корпус муфты и кольцо сальника изготавливаются из мягкой стали с эпоксидно-порошковым покрытием. Для болтов, шайб и гаек применяется оцинковка в качестве защиты их от коррозии.

Материалы

  • Кольцо: мягкая сталь по BS EN 10025: 1990, сальника, марка FE 430 A.
  • Корпус покрытие внутри и снаружи порошковое эпоксидное по WIS 4-52-01, нанесенное электростатическим способом.
  • Резиновые уплотнение EPDM по BS 2494 : 1990 типа W.
  • Болты с полусферической головкой, с овальным подголовком, с цинковым и пассивированным покрытием, класс 8.8.
  • Гайки шестигранные, класс 8.8, с цинковым и пассивированным покрытием.
  • Шайбы с цинковым и пассивированным покрытием.
Сссылка No DN мм Наружн. ? трубы мм А мм L мм Болты Вес кг
52-258-3-X-0355-1-Y 14" ST 355.6 470 270 8 25
52-258-3-X-0378-1-Y 350 DI 378.0 483 270 8 27
52-258-3-X-0387-1-Y 14" AB 387.0 502 270 8 27
52-258-3-X-0399-1-Y 14" CD 399.0 514 270 8 28
52-258-3-X-0406-1-Y 16" ST 406.4 521 270 8 29
52-258-3-X-0429-1-Y 400 DI 429.0 543 270 8 30
52-258-3-X-0439-1-Y 16" AB 439.0 554 270 8 31
52-258-3-X-0453-1-Y 16" CD 453.0 563 270 8 32
52-258-3-X-0457-1-Y 18" ST 457.2 572 270 10 32
52-258-3-X-0480-1-Y 450 DI 480.0 594 270 10 33
52-258-3-X-0492-1-Y 18" AB 492.0 607 270 10 34
52-258-3-X-0507-1-Y 18" CD 507.0 622 270 10 35
52-258-3-X-0508-1-Y 20" ST 508.0 623 270 10 37
52-258-3-X-0532-1-Y 500 DI 532.0 646 270 10 37
52-258-3-X-0545-1-Y 20" AB 545.0 660 270 10 38
52-258-3-X-0560-1-Y 20" CD 560.0 675 270 10 41
52-258-3-X-0609-1-Y 24" ST 609.6 725 270 10 42
52-258-3-X-0635 1-Y 600 DI 635.0 749 270 10 43
52-258-3-X-0650-1-Y 24" AB 650.0 765 270 10 44
52-258-3-X-0667-1-Y 24" CD 667.0 782 270 10 45
52-258-3-X-0711-1-Y 28" ST 711.2 826 270 12 48
52-258-3-X-0729-1-Y 27" AB 729.0 844 270 12 49
52-258-3-X-0738-1-Y 700 DI 738.0 853 270 12 49
52-258-3-X-0747-1-Y 27" CD 747.0 862 270 12 50
52-258-3-X-0807-1-Y 30" AB 807.0 922 270 12 53
52-258-3-X-0812-1-Y 32" ST 812.8 928 270 12 54
52-258-3-X-0842-1-Y 30" CD 842.0 941 270 12 55
52-258-3-X-0914 1-Y 36" ST 914.4 1029 270 14 60
52-258-3-X-0945-1-Y 900 DI 945.0 1059 270 14 62
52-258-3-X-0964-1-Y 36" AB 964.0 1079 270 14 63
52-258-3-X-0985-1-Y 36" CD 985.0 1100 300 14 64
52-258-3-X-1016-1-Y 40" ST 1016.0 1130 300 14 67
52-258-3-X-1048-1-Y 1000 DI 1048.0 1162 300 14 68
52-258-3-X-1121-1-Y 42" AB 1121.0 1236 300 14 73
52-258-3-X-1143-1-Y 42" CD 1143.0 1258 300 14 74
52-258-3-X-1220-1-Y 48" ST 1220.0 1334 300 16 79
52-258-3-X-1255-1-Y 1200 DI 1250.0 1369 300 16 81
52-258-3-X-1277-1-Y 48" AB 1277.0 1392 300 16 82
52-258-3-X-1300-1-Y 48" CD 1300.0 1416 300 16 84
Муфта AVK сборная PN 16 52/258

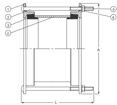
Компоненты

  1. Кольцо сальника
  2. Болт
  3. Резиновое уплотнение
  4. Корпус
  5. Шайба
  6. Гайка
Отзыв
Оставить отзыв
Имя
E-mail
Текст комментария
Оценка для товара
Copyright MAXXmarketing Webdesigner GmbH