Фланец AVK сборный для стальных труб 05/АС

0 ОТЗЫВ-Ы / ДОБАВИТЬ ОТЗЫВ

Фланец AVK сборный для стальных труб 05/АС предназначен для водопроводов и трубопроводов, транспортирующих сточные воды и нейтральные жидкости с максимальной температурой до 70°C.

Материалы

  • Фланец: чугун ковкий GGG-50 по DIN 1693 (класс 500-7 по BS 2789).
  • Покрытие: эпоксидное порошковое по DIN 30677, нанесенное электростатическим способом.
  • Резиновые уплотнения: резина SBR.
  • Максимально применимое давление: PN 10/16.
  • Диаметр: DN 65-300 мм.
DN Наружний диаметр трубы Фланец Уплотнительная прокладка
65 75,3 05-065-2100 05-065-1510
80 88,9 05-080-2100 05-080-0540
100 108,0 05-100-2100 05-100-1510
100 114,3 05-100-2100 05-100-0540
125 133,0 05-125-2100 05-125-1510
125 140,2 05-125-2100 05-140-0310
150 168,3 05-150-2100 05-150-0540
200 219,1 05-200-X400 05-200-0540
250 273,0 05-250-X400 05-250-0540
300 323,9 05-300-X400 05-300-0540

Дополнителные характеристики

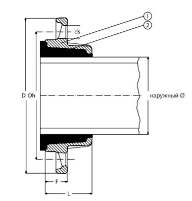
Фланец No DN фланца
мм
Наружн. ? трубы
мм
D
мм
Dh
мм
ds
мм
Кол-во
отверстий
L
мм
F
мм
Вес
мм
05-065-2100 65 75,3 185 145 18 4 50 25 2.0
05-080-2100 80 88,9
05-100-2100 100 108/114,3 220 180 18 8 58 29 3.0
05-125-2100 125 133/140,2 250 210 18 8 66 31 5.3
05-150-2100 150 168,3
05-200-X400 200 219,1
05-250-X400 250 273,0
05-300-X400 300 323,9

Компоненты

  1. Фланец
  2. Уплотнительное кольцо
Фланец AVK сборный для стальных труб 05/АС
Отзыв
Оставить отзыв
Имя
E-mail
Текст комментария
Оценка для товара
Copyright MAXXmarketing Webdesigner GmbH