Фланец AVK сборный для чугунных труб 05 используется на сетях трубопроводов из чугунных труб, транспортирующих воду, другие нейтральные среды и сточные воды с температурой не более 70. Оснащен устойчивым к натяжению уплотнительным кольцом. Фланцевое присоединение может выполняться по стандартам ISO 7005-2 (EN 1092-2: 1997, DIN 2501) на сетях с давлением 1 или 1,6 МПа.
| DN | Наружний диаметр трубы | Ссыл. No фланца PN10 | Ссыл. No кольца уплот. стандартного типа из резины | Ссыл. No уплот.кольца станд.согласно EN-545 | Ссыл. No с кольцом устойч. к натяж. |
|---|---|---|---|---|---|
| 50 | 66 | 05-050-2100 | 05-050-0210 | 05-063-50011 | 05-066-50116 |
| 60 | 77 | 05-060-2100 | 05-060-0510 | 05-050-0260 | 05-077-50116 |
| 60 | 82 | 05-060-2200 | 05-065-0210 | 05-060-0260 | 05-082-50116 |
| 65 | 98 | 05-065-2100 | 05-080-0210 | 05-065-0260 | 05-098-50116 |
| 80 | 98 | 05-080-2200 | 05-080-0210 | 05-080-0260 | 05-098-50116 |
| 80 | 98 | 05-080-2100 | 05-800-0210 | 05-080-0260 | 05-118-50116 |
| 100 | 118 | 05-100-2100 | 05-100-0210 | 05-100-0260 | 05-144-50116 |
| 125 | 124 | 05-125-2200 | 05-125-0210 | 05-125-0260 | 05-170-50116 |
| 150 | 170 | 05-125-2100 | 05-150-0210 | 05-150-0260 | 05-222-50116 |
| 200 | 222 | 05-200-2400 | 05-200-0210 | 05-200-0260 | 05-222-50116 |
| 200 | 222 | 05-200-4400 | 05-200-0210 | 05-200-0260 | 05-274-50111** |
| 250 | 274 | 05-250-2400 | 05-250-0210 | 05-250-0260 | 05-274-50111** |
| 250 | 274 | 05-250-4400 | 05-250-0210 | 05-250-0260 | 05-326-50111** |
| 300 | 326 | 05-300-2400 | 05-300-0210 | 05-300-0260 | 05-326-50111** |
| 300 | 326 | 05-300-4400 | 05-300-0310 | 05-300-0260 | 05-326-50111** |
| 400 | 429 | 05-400-2400 | 05-400-0210 | ||
| 400 | 429 | 05-400-4400 | 05-400-0210 | ||
| 500 | 532 | 05-500-2200 | 05-500-0210 | ||
| 600 | 636 | 05-600-2200 | 05-600-0210 |
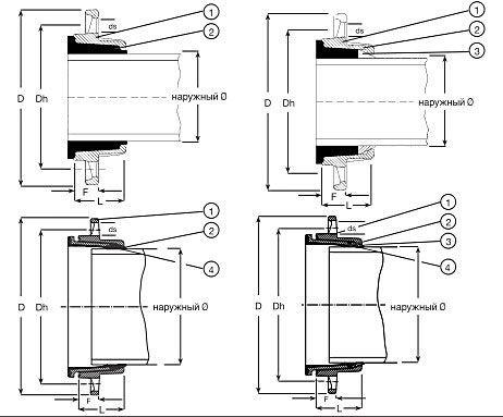
| Фланец No | DN фланца мм |
Наружн. ? трубы мм |
D мм |
Dh мм |
ds мм | Кол-во отверстий | L мм |
F мм |
Вес фланца 1 | Вес фланца 2 | Вес фланца 3 |
|---|---|---|---|---|---|---|---|---|---|---|---|
| 05-050-2100 | 50 | 66 | 165 | 125 | 19 | 4 | 48 | 25 | 2.4 | 2.8 | 2.8 |
| 05-060-2200 | 60 | 77 | 175 | 135 | 19 | 4 | 48 | 25 | 2.0 | 2.7 | 2.8 |
| 05-065-2100 | 65 | 82 | 185 | 135 | 19 | 4 | 48 | 25 | 2.0 | 3.6 | 3.7 |
| 05-080-2200 | 80 | 98 | 200 | 145 | 19 | 4 | 50 | 25 | 2.6 | 3.2 | 3.3 |
| 05-080-2100 | 80 | 98 | 200 | 160 | 19 | 4 | 54 | 28 | 2.6 | 3.2 | 3.3 |
| 05-100-2100 | 100 | 118 | 220 | 160 | 19 | 8 | 54 | 28 | 3.0 | 4.0 | 4.0 |
| 05-125-2100 | 125 | 144 | 250 | 180 | 19 | 8 | 58 | 29 | 5.3 | 5.4 | 5.5 |
| 05-150-2100 | 150 | 170 | 285 | 210 | 19 | 8 | 66 | 31 | 5.3 | 6.9 | 7.3 |
| 05-200-2400 | 200 | 222 | 340 | 210 | 19 | 8 | 66 | 31 | 9.2 | 10.6 | 11.1 |
| 05-200-4400 | 200 | 222 | 340 | 240 | 23 | 8 | 73 | 33 | 9.2 | 17.2 | 17.9** |
| 05-250-2400 | 250 | 274 | 395 | 295 | 23 | 12 | 87 | 40 | 15.5 | 17.2 | 17.9** |
| 05-250-4400 | 250 | 274 | 395 | 295 | 23 | 12 | 87 | 40 | 15.5 | 23.3 | 24.6** |
| 05-300-2400 | 300 | 326 | 445 | 350 | 23 | 12 | 121 | 48 | 22.5 | 23.3 | 24.6** |
| 05-300-4400 | 300 | 326 | 445 | 350 | 23 | 12 | 121 | 48 | 22.5 | 23.3 | 24.6** |
| 05-400-2400 | 400 | 428 | 565 | 400 | 23 | 16 | 105 | 50 | 34.1 | ||
| 05-400-4400 | 400 | 428 | 565 | 515 | 28 | 16 | 133 | 63 | 34.1 | ||
| 05-500-2200 | 500 | 532 | 670 | 620 | 28 | 20 | 158 | 80 | 56.0 | ||
| 05-600-2200 | 600 | 636 | 780 | 725 | 31 | 20 | 140 | 140 | 84.7 |
Вес фланца 1 - масса фланца со стандартным уплотнительным кольцом, с прокладкой из массивной резины.
Вес фланца 2 - масса фланца со стандартным уплотнительным кольцом, на соответствие EN 545.
Вес фланца 3 - масса фланца с кольцом устойчивым к силам натяжения, новая конструкция.
*DIN 1882 - 4 отверстий.
**Прокладка из массивной резины и свободно сидящее зажимное кольцо.