Счетчики воды ВМХ

0 ОТЗЫВ-Ы / ДОБАВИТЬ ОТЗЫВ
  • Диаметр: 50-200 мм
  • Расход: 45-500 м3/час
  • Рабочая среда: холодная вода
  • Тип: турбинный
  • Межповерочный интервал: 6 лет
  • Производитель: Водоприбор
  • Гарантия: 18 мес.
  • Цены: от 8 710 руб.

Скачать паспорт на счетчик воды ВМХ

Счетчики холодной воды турбинные ВМХ предназначены для измерения объемов питьевой воды по СанПиН2.1.4.1074 и сетевой воды по СНиП 2.04.07, протекающих в системах холодного водоснабжения, подающих и обратных трубопроводах закрытых и открытых систем теплоснабжения при давлении до 1,6 МПа (16 кгс/см2) и диапазоне температур от 5 до 50°С. Счетчики соответствуют метрологическому классу В по ГОСТ Р 50193.1, превышая его требования по ряду основных технических характеристик.

Цены на счетчики ВМХ с НДС, за шт:

Ду, мм Цена
50 8 710 руб.
65 9 020 руб.
80 11 010 руб.
100 11 775 руб.
125 -
150 20 950 руб.
200 32 620 руб.

Технические характеристики:

Наименование параметра Значения для счетчиков с Dy, мм
50 65 80 100 150 200
Расход воды
наименьший Qmin3 0,3 0,45 0,6 1 2 4
переходный Qmin3 0,9 1 1 2,5 4 6
номинальный Qmin, м3 45 60 120 150 250 500
наибольший Qmin3 120 180 240 300 500 1000
Порог чувствительности, Qmin3 0,15 0,2 0,25 0,25 1 1,5
Строительная длина, L, мм 200 200 225 250 300 350
Масса,кг 8,5 12 15 19 36 51
Диаметр,мм 50 65 80 100 150 200

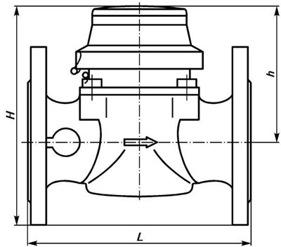
Габаритные размеры

Параметр Условный диаметр, мм
50 65 80 100 125 150
L, мм 200 200 225 250 250 300
H, мм 120 120 150 150 160 177
h, мм 73 85 95 105 118 135
Счетчик ВМХ
Отзыв
Оставить отзыв
Имя
E-mail
Текст комментария
Оценка для товара
Copyright MAXXmarketing Webdesigner GmbH