Счетчики воды ВМГ

0 ОТЗЫВ-Ы / ДОБАВИТЬ ОТЗЫВ
  • Диаметр: 50-200
  • Расход: 15-250 м3/час
  • Рабочая среда: горячая вода
  • Тип: турбинный
  • Межповерочный интервал: 4 года
  • Производитель: Водоприбор
  • Гарантия: 18 мес.
  • Цены: от 12 630 руб.

Скачать паспорт на счетчик воды ВМГ

Счетчики горячей воды ВМГ турбинные предназначены для измерения объема горячей питьевой воды, протекающей по трубопроводу при температуре от 5 °С до 150 °С и рабочем давлении не более 1,6 МПа (16 кгс/см2). Счетчики соответствуют метрологическому классу В по ГОСТ Р 50193.1, превышая его требования по ряду основных технических характеристик.

Цены на счетчики ВМГ с НДС, за шт:

Ду, мм Цена
50 12 630 руб.
65 13 440 руб.
80 15 595 руб.
100 16 420 руб.
125 -
150 27 110 руб.
200 40 525 руб.

Технические характеристики:

Обозначение Значения для счетчиков с Dy, мм
50 65 80 100 150 200
Расход воды
наименьший Qmin3 0,6 1 1,4 2 4,5 8
переходный Qmin3 1,8 2 3,2 4,8 12 20
номинальный Qmin3 15 25 45 70 150 250
наибольший Qmin3 60 90 140 200 500 500
Порог чувствительности, Qmin3 0,25 0,3 0,35 0,6 1,7 2
Строительная длина, L, мм 200 200 225 250 300 350
Масса,кг 8,5 12 15 19 36 51
Диаметр,мм 50 65 80 100 150 200

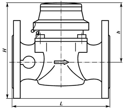
Габаритные размеры

Параметр Условный диаметр, мм
50 65 80 100 125 150
L, мм 200 200 225 250 250 300
H, мм 120 120 150 150 160 177
h, мм 73 85 95 105 118 135
Счетчик ВМГ
Отзыв
Оставить отзыв
Имя
E-mail
Текст комментария
Оценка для товара
Copyright MAXXmarketing Webdesigner GmbH