Гайки DIN 557 квадратные

0 ОТЗЫВ-Ы / ДОБАВИТЬ ОТЗЫВ

Класс точности С

Аналоги (ISO, DIN, EN)

Стандарт Наименование Отличие от DIN 557
DIN 562 Гайка квадратная низкая, класс В По аналогичным диаметрам гайка выше, за счет скошенных углов верхняя поверхность имеет форму круга.
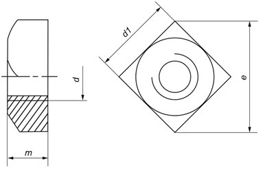
Параметры гайки Номинальный диаметр резьбы d
М5 М6 М8 М10 М12 М16
Шаг резьбы, P 0,8 1 1,25 1,5 1,75 2
Диаметр, d1 6,7 8,7 11,5 14,5 15,5 16,5 17,2 22
Высота гайки, m 4 5 6,5 8 10 13
Длина грани, s 8 10 13 16 17 18 19 24
Диагональ квадратного сечения, не менее, e 11,3 14,1 18,4 22,6 24 25,4 26,9 33,9

Все параметры в таблице указаны в мм.

Гайки Din 557
Отзыв
Оставить отзыв
Имя
E-mail
Текст комментария
Оценка для товара
Copyright MAXXmarketing Webdesigner GmbH