Аналоги ГОСТ: ГОСТ 5918-73, 5932-73.
DIN 935-1 — применяется для изготовления гаек шестигранных корончатых до номинального диаметра резьбы М10.
DIN 935-3 — применяется для изготовления гаек шестигранных корончатых с номинальным диаметром резьбы с М12 до М33.
DIN 935-1 — применяется для изготовления гаек шестигранных корончатых с номинальным диаметром М12 и выше.
| Стандарт | Наименование | Отличие от DIN 935 |
|---|---|---|
| EN ISO 7035, 7036, 7037 | Гайка шестигранная корончатая (класс точности A, B,C) | Отсутствуют различия. |
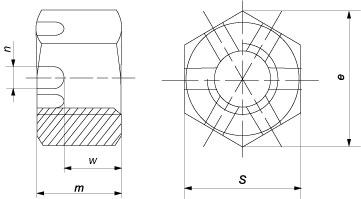
| Параметры гайки | Номинальный диаметр резьбы d | ||||||||||
|---|---|---|---|---|---|---|---|---|---|---|---|
| М4 | М5 | M6 | M8 | M10 | M12 | M14 | M16 | М18 | М20 | ||
| Шаг резьбы, P | Крупный | 0,7 | 0,8 | 1 | 1,25 | 1,5 | 1,75 | 2 | 2 | 2,5 | 2,5 |
| Мелкий | - | - | - | 1 | 1 | 1,25 | 1,5 | 1,5 | 1,5 | 1,5 | |
| 1,25 | 1,5 | 2 | 2 | ||||||||
| Высота максимальная, m | 5 | 6 | 7,5 | 9,5 | 12 | 15 | 16 | 19 | 21 | 22 | |
| Диаметр описанной окружности e, не менее |
7,66 | 8,79 | 11,05 | 14,38 | 17,77 | 20,03 | 23,35 | 26,75 | 29,56 | 32,95 | |
| Расстояние от опорной поверхности до основания прорези и коронки, w |
мин | 2,9 | 3,7 | 4,7 | 6,14 | 7,64 | 9,64 | 10,57 | 12,57 | 14,57 | 15,57 |
| макс | 3,2 | 4 | 5 | 6,5 | 8 | 10 | 11 | 13 | 15 | 16 | |
| Диаметр коронки de, максимальный |
16 | 18 | 22 | 25 | 28 | ||||||
| Ширина прорези n | мин | 1,2 | 1,4 | 2 | 2,5 | 2,8 | 3,5 | 3,5 | 4,5 | 4,5 | 4,5 |
| макс | 1,45 | 1,65 | 2,25 | 2,75 | 3,05 | 3,8 | 3,8 | 4,8 | 4,8 | 4,8 | |
| Размер под ключ, S | 7 | 8 | 10 | 13 | 16 | 18 | 21 | 24 | 27 | 30 | |
| Размер шплинта под диаметр | 1х10 | 1,2х12 | 1,6х14 | 2х16 | 2,5х20 | 3,2х22 | 3,2х25 | 4х28 | 4х32 | 4х36 |
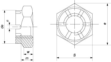
| Параметры гайки | Номинальный диаметр резьбы d | ||||||
|---|---|---|---|---|---|---|---|
| М22 | М24 | М27 | М30 | M33 | M36 | ||
| Шаг резьбы, P | Крупный | 2,5 | 3 | 3 | 3,5 | 3,5 | 4 |
| Мелкий | 1,5 | 2 | 2 | 2 | 2 | 3 | |
| 2 | |||||||
| Высота максимальная, m | 26 | 27 | 30 | 33 | 35 | 38 | |
| Диаметр описанной окружности e, не менее |
37,29 | 39,55 | 45,2 | 50,85 | 55,37 | 60,79 | |
| Расстояние от опорной поверхности до основания прорези и коронки, w |
мин | 17,57 | 18,48 | 21,48 | 23,48 | 25,48 | 28,48 |
| макс | 18 | 19 | 22 | 24 | 26 | 29 | |
| Диаметр коронки de, максимальный |
32 | 34 | 38 | 42 | 46 | 50 | |
| Ширина прорези n | мин | 5,5 | 5,5 | 5,5 | 7 | 7 | 7 |
| макс | 5,8 | 5,8 | 5,8 | 7,36 | 7,36 | 7,36 | |
| Размер под ключ, S | 34 | 36 | 41 | 46 | 50 | 55 | |
| Размер шплинта под диаметр | 5х36 | 5х40 | 5х45 | 6,3х50 | 6,3х56 | 6,3х63 |
| Параметры гайки | Номинальный диаметр резьбы d | ||||||||
|---|---|---|---|---|---|---|---|---|---|
| M36 | M39 | М42 | М45 | М48 | М52 | М56 | М60 | ||
| Шаг резьбы, P | Крупный | 4 | 4 | 4,5 | 4,5 | 5 | 5 | 5,5 | 5,5 |
| Мелкий | 3 | 3 | 3 | 3 | 3 | 3 | 4 | 4 | |
| Высота максимальная, m | 38 | 40 | 46 | 48 | 50 | 54 | 57 | 63 | |
| Диаметр описанной окружности e, не менее |
60,79 | 66,44 | 71,3 | 76,95 | 82,6 | 88,25 | 93,56 | 99,21 | |
| Расстояние от опорной поверхности до основания прорези и коронки, w |
мин | 28,48 | 30,28 | 33,38 | 35,38 | 37,38 | 41,38 | 44,38 | 47,38 |
| макс | 29 | 31 | 34 | 36 | 38 | 42 | 45 | 48 | |
| Диаметр коронки de, максимальный | 50 | 55 | 58 | 62 | 65 | 70 | 75 | 80 | |
| Ширина прорези n | мин | 7 | 7 | 9 | 9 | 9 | 9 | 9 | 11 |
| макс | 7,36 | 7,36 | 9,36 | 9,36 | 9,36 | 9,36 | 9,36 | 11,43 | |
| Размер под ключ, S | 55 | 60 | 65 | 70 | 75 | 80 | 85 | 90 | |
| Размер шплинта под диаметр | 6,3х63 | 6,3х71 | 8х71 | 8х80 | 8х80 | 8х90 | 8х100 | 10х100 |
| Параметры гайки | Номинальный диаметр резьбы d | ||||||||
|---|---|---|---|---|---|---|---|---|---|
| М64 | М68 | М72 | М76 | М80 | М85 | М90 | М100 | ||
| Шаг резьбы, P | Крупный | 6 | 6 | - | - | - | - | - | - |
| Мелкий | 4 | 4 | 4 | 4 | 4 | 4 | 4 | 4 | |
| Высота максимальная, m | 66 | 69 | 73 | 76 | 79 | 88 | 92 | 100 | |
| Диаметр описанной окружности e, не менее |
104,86 | 110,51 | 116,16 | 121,81 | 127,46 | 133,11 | 144,08 | 161,02 | |
| Расстояние от опорной поверхности до основания прорези и коронки, w |
мин | 50,26 | 53,26 | 57,26 | 60,26 | 63,26 | 67,26 | 71,26 | 79,26 |
| макс | 51 | 54 | 58 | 61 | 64 | 68 | 72 | 80 | |
| Диаметр коронки de, максимальный | 85 | 90 | 95 | 100 | 105 | 110 | 120 | 130 | |
| Ширина прорези n | мин | 11 | 11 | 11 | 11 | 11 | 14 | 14 | 14 |
| макс | 11,43 | 11,43 | 11,43 | 11,43 | 11,43 | 11,43 | 11,43 | 11,43 | |
| Размер под ключ, S | 95 | 100 | 105 | 110 | 115 | 120 | 130 | 145 | |
| Размер шплинта под диаметр | 10х100 | 10х112 | 10х112 | 10х125 | 10х140 | 13х140 | 13х140 | 13х160 |
| Параметры гайки | Номинальный диаметр резьбы d | |||||||
|---|---|---|---|---|---|---|---|---|
| M12 | M16 | М20 | М24 | М27 | М30 | M33 | ||
| Шаг резьбы, P | 1,75 | 2 | 2,5 | 3 | 3 | 3,5 | 3,5 | |
| Высота максимальная, m | 15 | 19 | 22 | 27 | 30 | 33 | 35 | |
| Диаметр описанной окружности e, не менее |
19,85 | 26,17 | 32,95 | 39,55 | 45,2 | 50,85 | 55,37 | |
| Расстояние от опорной поверхности до основания прорези и коронки, w |
мин | 9,48 | 12,3 | 15,3 | 18,16 | 21,16 | 23,16 | 25,16 |
| макс | 10 | 13 | 16 | 19 | 22 | 24 | 26 | |
| Ширина прорези n | мин | 3,5 | 4,5 | 4,5 | 5,5 | 5,5 | 7 | 7 |
| макс | 3,98 | 4,98 | 4,98 | 5,98 | 5,98 | 7,58 | 7,58 | |
| Размер под ключ, S | 18 | 24 | 30 | 36 | 41 | 46 | 50 | |
| Размер шплинта под диаметр |
3,2х22 | 4х28 | 4х36 | 5х40 | 5х45 | 6,3х50 | 6,3х56 |
Все параметры в таблице указаны в мм.